Определение основных терминов
Кровля — верхний элемент покрытия, предохраняющий здание от проникновения атмосферных осадков.
Основание под кровлю — поверхность теплоизоляции, несущих плит или стяжек, по которой наклеивают слои водоизоляционного ковра (рулонного или мастичного). В кровлях из асбестоцементных волнистых листов — опоры для закрепления листов (прогоны или обрешетка).
Основной водоизоляционный ковер (в составе рулонных и мастичных кровель) — слои рулонных материалов на мастиках или слои мастик, армированные стекломатериалами, последовательно выполняемые по основанию под кровлю.
Дополнительный водоизоляционный ковер (рулонный или мастичный) — слои из рулонных материалов или мастик, армированных стекломатериалами, выполняемые для усиления основного водоизоляционного ковра в ендовах, на карнизных участках, в местах примыкания к стенам, шахтам и другим конструктивным элементам.
Защитный слой — элемент кровли, предохраняющий основной водоизоляционный ковер от механических повреждений, непосредственного воздействия атмосферных факторов, солнечной радиации и распространения огня по поверхности кровли.
Покрытие — верхнее ограждение здания для защиты помещений от внешних климатических факторов и воздействий. При наличии пространства (проходного или полупроходного) над перекрытием верхнего этажа покрытие именуется чердачным.

Рис. 1. Примеры примыканий кровель
а — к стенам высотой более 450 мм;
б — то же, при выполнении мероприятий по п. 5.2;
1 — основной водоизоляционный ковер (по табл. 2);
2 — слои дополнительного водоизоляционного ковра с верхним слоем из рубероида (или толя) с крупнозернистой или чешуйчатой посыпкой (по п. 2.5);
3 — защитный слой (согласно табл. 2);
4 — защитный фартук из оцинкованной кровельной стали;
5 — герметизирующая мастика (согласно п.2.9);
6 — оси крепежных элементов (для закрепления слоев водоизоляционного ковра, защитных фартуков);
7 — диффузионная прослойка (согласно п. 5.2), сообщающаяся с наружным воздухом
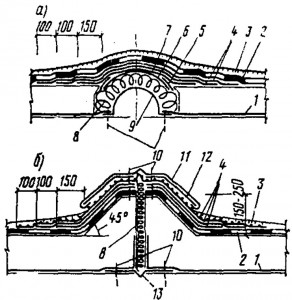
Рис.2. Примеры решений деформационных швов
а — при ширине шва до 60 мм с полукруглым компенсатором из оцинкованной стали (при ширине вставки 500-1000 мм компенсатор выполнять из листовой стали толщиной 3-4 мм);
б — со стенками из сборных бетонных деталей;
1 -пароизоляция (по расчету);
2 — основной водоизоляционный ковер (по табл. 2);
3 — защитный слой (согласно табл. 2);
4 — слои дополнительного водоизоляционного ковра по п. 2.5 (в швах с полукруглыми
компенсаторами выполнять из стеклоткани или стеклосетки);
5 — полоса рубероида (насухо);
6 — выкружка из оцинкованной кровельной стали;
7 — полотнище рубероида (насухо);
8 — несгораемый минераловатный утеплитель;
9 — компенсатор радиусом 80 мм из оцинкованной стали;
10 — оси крепежных элементов;
11 — фартук из оцинкованной стали;
12 — полосы из стали 4х40 мм через 600 мм;
13 — V-образный компенсатор

Рис. 3. Пример решения пропуска труб
1 — основной водоизоляционный ковер;
2 -защитный слой (согласно табл. 2);
3 — слои дополнительного водоизоляционного ковра;
4 — ось крепежных элементов; 5 — зонт из оцинкованной кровельной стали; 6 — круглый или прямоугольный стальной патрубок с фланцем; 7 — просмоленная пакля; 8 — зажимной хомут; 9 — герметизирующая мастика; 10 -пропускаемая труба

Примеры решения кровель в местах установки водосточных воронок
а — в покрытиях с железобетонными плитами при эксплуатируемой кровле (см. п. 2.11);
б — то же, при неэксплуатируемой кровле;
1 — основной водоизоляционный ковер (по табл. 2);
2 — защитный слой (согласно табл. 2);
3 — слои дополнительного водоизоляционного ковра из мастик, армированных стеклосеткой или стеклотканью ;
4 — струевыпрямитель колпака водоприемной воронки;
5 — съемная крышка водоприемного колпака; 6 — накидная гайка с шайбой; 7 — прижимное кольцо;
8 — гравий фракцией не менее 15 мм; 9 — цементно-песчаный раствор или кварцевый песок (по п. 2.11);
10 — бетонные или армоцементные плитки (по п.2.11);
11 — зажимной хомут; 12 — чаша водоприемной воронки
Водоотводящие устройства
4.1. Удаление с кровель дождевых и талых вод следует предусматривать с учетом норм проектирования соответствующих зданий и сооружений и требований строительных норм по проектированию канализации и водостоков зданий.
4.2. Водоприемные воронки внутренних водостоков необходимо располагать равномерно по площади кровли на пониженных участках каждого ряда продольных разбивочных осей здания. Уклоны по ендовам предусматривать не следует.
4.3. Для поддержания уровня воды при необходимости охлаждения кровли водой следует предусматривать установку съемных переливных патрубков.
4.4. На каждом участке кровли, ограниченном стенами и деформационными швами, должно быть не менее двух водоприемных воронок; при площади участка кровли менее 700 кв.м допускается установка одной воронки диаметром не менее 100 мм.
Присоединение воронок, установленных по обеим сторонам шва, к одному стояку или к общей подвесной линии допускается предусматривать при условии обязательного устройства компенсационных стыков, обеспечивающих герметичность и эластичность соединений.
4.5. Не допускается установка водосточных стояков в толще наружных стен. В чердачных покрытиях и в покрытиях с вентилируемыми воздушными прослойками приемные патрубки водосточных воронок и охлаждаемые участки водостоков должны иметь теплоизоляцию.
Допускается предусматривать обогрев патрубков водосточных воронок и стояков в пределах охлаждаемых участков.
4.6. Чаши водосточных воронок должны быть жестко прикреплены хомутами к несущим настилам или к плитам покрытий и соединены со стояками внутренних водостоков через компенсаторы.
В покрытиях типов П-1, П-2, П-5 для установки водосточных воронок следует предусматривать стальные оцинкованные поддоны.
4.7. В местах установки водосточных воронок основной водоизоляционный ковер, наклеиваемый на фланец воронки, необходимо усиливать тремя мастичными слоями, армированными двумя слоями стеклохолста или стеклосетки согласно рис. 4 прил. 6. Усиление слоев основного водоизоляционного ковра допускается предусматривать также двумя слоями рулонных материалов, применяемых для устройства кровли, и слоем мешковины, пропитанной в мастике.
Прижимное кольцо должно жестко крепиться к чаше воронки.
4.8. Проектирование наружного организованного отвода воды с кровель посредством желобов и водосточных труб допускается только при обосновании; при этом детали наружных водостоков и размеры водосточных труб должны соответствовать требованиям ГОСТ 7623-75. Расстояние между наружными водосточными трубами должно приниматься не более 24 м; площадь поперечного сечения водосточной трубы должна приниматься из расчета 1,5 кв.см на 1 кв.м площади кровли.
Мероприятия по обеспечению надежности кровель
5.1. Для зданий и сооружений, возводимых в Северной строительно-климатической зоне, следует предусматривать рулонные и мастичные кровли с уклоном, как правило, до 2,5%.
5.2. Для предотвращения появления вздутий между основанием и водоизоляционным ковром следует предусматривать в покрытиях типов П-1, П-3 непроклеенные полосы шириной 50-100 мм по швам между теплоизоляционными плитами вдоль ската кровель, а в покрытиях с пароизоляцией и выравнивающими стяжками (при уклоне кровли не боле 8%) — полосовую или точечную приклейку нижнего слоя водоизоляционного ковра.
Точечная и полосовая приклейка должна быть равномерной и составлять 25-35% площади наклеиваемых полотнищ рубероида, при этом их раскатку следует предусматривать вдоль ската кровель; верхний край полотнища на коньковом участке кровли должен переходить на противоположную поверхность ската не менее чем на 1 м.
На карнизах и в местах примыканий кровель к выступающим конструктивным элементам необходимо предусматривать возможность выхода воздуха наружу из всех непроклеенных участков.
5.3. Для вентиляции чердачного пространства в продольных наружных стенах зданий с чердачными покрытиями необходимо предусматривать устройство приточно-вытяжных отверстий общей площадью сечения в каждой стене не менее 1:500 площади покрытия либо устройство в покрытии слуховых окон. Приточно-вытяжные отверстия должны иметь металлическую сетку с ячейками размером не более 20X20 мм.
Невентилируемые воздушные прослойки (пустоты) в покрытиях зданий допускаются над помещениями с относительной влажностью воздуха не более 60%; в невентилируемых покрытиях не разрешается применять древесину и теплоизоляционные материалы на ее основе.
5.4. Требуемая высота вентилируемой воздушной прослойки над теплоизоляцией в покрытии типа П-7, Пл-2 определяется на основе расчета ее осушающего эффекта за годовой период эксплуатации и должна быть не менее 50 мм. Площадь приточно-вытяжных отверстий должна быть не менее площади сечения вентилируемой прослойки.
5.5. Каналы в покрытии типа П-8 следует предусматривать в случае, если начальная влажность легкого бетона превышает 15% (по весу), и при относительной влажности воздуха в помещении выше 60%.
5.6. Для уменьшения деформации усадки и коробления следует предусматривать гидрофобизацию наружной стороны асбестоцементных листов кремнийорганической жидкостью ГКЖ-94 по ГОСТ 10834-64 или ГКЖ-11 по МРТУ 6-02-271-63 либо окраску краской БТ-177 по ГОСТ 5631-70.*
5.7. Асбестоцементные кровли должны иметь возможно простую форму. Необходимо предусматривать герметизацию продольных и поперечных соединений между кровельными листами, если карнизные участки кровель имеют затенение (от солнечной радиации) соседними строениями.
5.8. Диаметр отверстий в асбестоцементных листах должен быть на 2-3 мм больше диаметра стержня крепежного элемента.
Асбестоцементные листы не допускается учитывать при расчете жесткости несущих конструкций покрытия.

