4.2.1 Раструбы фасонных частей изготавливают четырех типов: I, II, III, IV.
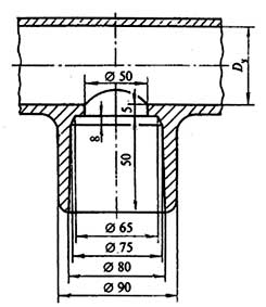
4.2.2 Конструкция и размеры раструбов типа I должны соответствовать указанным на рисунке 2 и в таблице 3, типа II — на рисунке 3 и таблице 4, типа III — на рисунке 4 и типа IV — на рисунке 5. Размеры даны без учета антикоррозионного покрытия. Допускается вариант изготовления раструбов типов I, II, III без кольцевой канавки на внутренней поверхности раструбов.
4.2.2 Конструкция и размеры раструбов типа I должны соответствовать указанным на рисунке 2 и в таблице 3, типа II — на рисунке 3 и таблице 4, типа III — на рисунке 4 и типа IV — на рисунке 5. Размеры даны без учета антикоррозионного покрытия. Допускается вариант изготовления раструбов типов I, II, III без кольцевой канавки на внутренней поверхности раструбов.
* Размеры для справок
Рисунок 2
Таблица 3
В миллиметрах
| Условный проход Dy | D | D1 | D2 | D3 | D4 | b | b1 | S | S1 | l мин. | с |
| 50 | 65 | 72 | 76 | 81 | 90 | 13 | 8 | 4,0 | 4,5 | 55 | 10 |
| 100 | 118 | 123 | 128 | 133 | 145 | 14 | 10 | 4,5 | 5,0 | 55 | 10 |
| 150 | 168 | 176 | 182 | 187 | 202 | 15 | 12 | 5,0 | 5,5 | 55 | 10 |
Рисунок 3
Таблица 4
В миллиметрах
| Условный проход Dy | D | D1 | D2 | D3 | D4 | b | b1 | l мин. | с | S1 |
| 50 | 72 | 76 | 81 | 90 | 67 | 13 | 8 | 55 | 9 | 4,5 |
| 100 | 123 | 128 | 133 | 145 | 118 | 14 | 10 | 55 | 10 | 5,0 |
| 150 | 176 | 182 | 187 | 202 | 170 | 15 | 12 | 55 | 12 | 5,5 |

____________
* Размеры для справок
Рисунок 5
4.2.3 Конструкция и размеры хвостовиков фасонных частей должны соответствовать указанным на рисунке 6 и в таблице 5.
Таблица 5
В миллиметрах
| Условный проход Dy | D | D1 | S |
| 50 | 58 | 62 | 4,0 |
| 100 | 109 | 114 | 4,5 |
| 150 | 160 | 164 | 5,0 |











