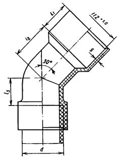
7.1. Приборные отводы следует изготовлять следующих типов:
УС — с раструбом для присоединения к выпуску унитаза и раструбом для соединения сваркой (черт. 18);
УС — с раструбом для присоединения к выпуску унитаза и раструбом для соединения сваркой (черт. 18);
Ук — с раструбом для присоединения к выпуску унитаза и гладким концом для соединения уплотнительным кольцом (черт. 19).
7.2. Размеры приборных отводов должны соответствовать указанным в табл. 9.
Таблица 9мм
| d | l1 | l2 | l3 | S | |||
| ПНД | ПВД | ||||||
| Номин. | Предел отклонения | Номин. | Предел отклонения | ||||
| 90,0 | 60 | 115 | 30 | 3,0 | +0,6 | 4,3 | +0,9 |
| 110,0 | 75 | 115 | 40 | 3,5 | +0,6 | 5,2 | +1,0 |
Пример условного обозначения отвода приборного типа УС диаметром 110 мм из ПНД для присоединения к выпуску унитаза:
Отвод ОПр У х 110С — ПНД ГОСТ 22689.2









