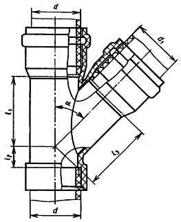
КкК — с двумя раструбами и гладким концом для соединения уплотнительными кольцами (черт. 24);
КкудК — с двумя раструбами и удлиненным гладким концом для соединения уплотнительными кольцами (черт. 25);
КудкК — с удлиненным компенсационным раструбом, гладким концом и боковым раструбом для соединения уплотнительными кольцами (черт. 26);
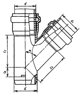
КСК — с двумя раструбами для соединения уплотнительными кольцами и раструбом для соединения сваркой (черт. 27);
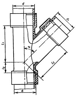
ССК — с двумя раструбами для соединения сваркой и раструбом для соединения уплотнительным кольцом (черт. 28);
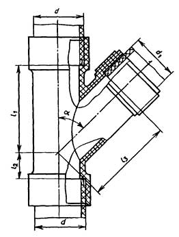
ССС — с тремя раструбами для соединения сваркой (черт. 29);
РСР — с двумя раструбами для соединения гайкой и раструбом для соединения сваркой (черт. 30);
ССР — с двумя раструбами для соединения сваркой и раструбом для соединения гайкой (черт. 31);
СкК — с раструбом для соединения сваркой, гладким концом и раструбом для соединения уплотнительным кольцом (черт. 32).
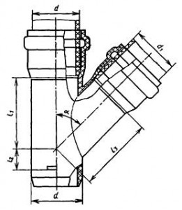
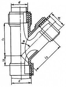
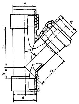
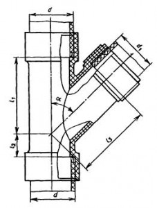
9.2. Размеры тройников типов КкК, КудкК, КСК, ССК, ССС, РСР, ССР, СкК должны соответствовать указанным в табл. 11, а тройника типа КкудК — в табл. 12
Таблица 11
| d | d1 | a = 45° | a = 60° | a = 87° 30′ | |||||||||
| l1 | l2 | l3 | l1 | l2 | l3 | l1 | l2 | l3 | l4 | ||||
| не менее | |||||||||||||
| 50,0 | 40,0 | 80 | 9 | 70 | — | — | — | 33 | 31 | 39 | — | ||
| 50,0 | 50,0 | 70 | 17 | 70 | — | — | — | 31 | 39 | 39 | 150* | ||
| 90,0 | 50,0 | 100 | 14 | 100 | — | — | — | 39 | 36 | 58 | — | ||
| 90,0 | 90,0 | 120 | 30 | 120 | — | — | — | 63 | 59 | 63 | — | ||
| 110,0 | 50,0 | 115 | 14 | 120 | 39 | 34 | 68 | — | |||||
| 110,0 | 110,0 | 150 | 37 | 145 | 110 | 50 | 110 | 70 | 85 или 58** | 70 | — | ||
____________
* Для тройника типа КудкК.
**Для тройников, устанавливаемых в санитарно-технических кабинах.
Примечание. Размер 50х40 указан для тройников типов ССС, РСР, ССР.
Таблица 12
| d | d1 | a = 87° 30′ | ||
| l1 | l2 | l3 | ||
| 90,0 | 50,0 | 103 | 151 | 150 |
| 110,0 | 50,0 | 128 | 151 | 150 |
Пример условного обозначения тройника типа КСК с углом α = 87° 30¢ для соединения с трубами диаметром 110 мм и 50 мм из ПНД:
Тройник T 110К х 110C х 50К — ПНД ГОСТ 22689.2
То же, тройника типа КСК с углом a = 45° для соединения труб тех же диаметров из ПНД:
Тройник Т45° 110К х 110С х 50К — ПНД ГОСТ 22689.2

















